
抗震支吊架类型概要
(1)抗震支吊架:与建筑结构件牢固连接,以地震力为主要荷载的抗震支撑设施,由锚固件、加固吊杆、抗震连接构件及抗震斜撑组成。示意图如图1:

图1 抗震支吊架示意图
639ccd全民乐1- 长螺杆;2- 设备或管道等;3- 螺杆紧固件;4- C 型槽钢;
5- 快速抗震连接构件;6- 抗震连接构件
639ccd全民乐(2)侧向抗震支吊架:斜撑与管道截面平行的抗震支吊架。示意图如图2:

图2 侧向抗震支架示意图
1- 斜撑;2- 抗震连接件;3- 锚固件;4- 螺杆锚固件;
5- 承重吊杆;6- 管道
图2 侧向抗震支架示意图
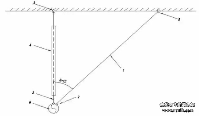
639ccd全民乐(3)纵向抗震支吊架:斜撑与管道横截面垂直的抗震支吊架。示意图如图3:

639ccd全民乐图3 纵向抗震支吊架示意图
639ccd全民乐1- 斜撑;2- 抗震连接构件;3- 锚固件;4- 螺杆紧固件;
5- 承重吊杆;6- 管道
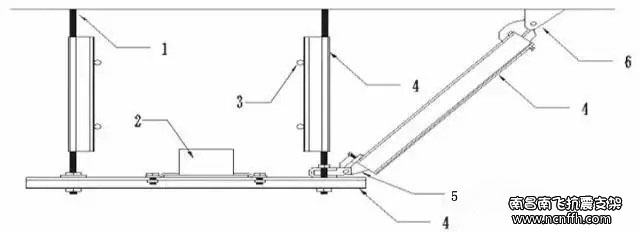
639ccd全民乐(4)门型抗震支吊架:由两根及以上承重吊架和横梁、抗震斜撑组成的抗震支吊架。示意图如图4:

639ccd全民乐图4 门型侧向抗震支吊架示意
639ccd全民乐1- 结构体;2- 长螺母;3- 长螺杆;4- 方垫片;5- 槽钢紧固件;
639ccd全民乐6- 膨胀螺栓;7- 抗震连接构件;8- 槽钢;9- 快速抗震连接构件
02关于管道抗震支吊架的硬要求
639ccd全民乐GB 50981-2014 建筑机电工程抗震设计规范中提到:
1、以下设备及管道应选用抗震支吊架:
重力大于1.8KN的空调机组风机。
矩形截面面积大于等于0.38㎡和圆形直径大于等于0.7m的风道。
防排烟风管、事故通风风管及相关设备。需要设防的室内给水、热水以及消防管道大于或等于DN65的水平管道。
639ccd全民乐8度、9度区域的高层建筑的给水、排水立管直线长度大于50m时,宜选用抗震措施,直线长度大于100m时,应采取抗震措施。
内径不小于60mm的电气配管及重力不小于150N/m的电缆梯架、电缆槽盒、母线槽。
2、抗震支吊架应和结构主体牢靠衔接依据项目所在地的抗震设防烈度,以地震力为首要荷载,由锚固件、加固吊杆、抗震衔接构件及抗震斜撑组成。
639ccd全民乐3、组成抗震支吊架的一切构件应选用成品构件,衔接紧固件的结构应便于安装。
4、管道抗震支吊架不该限制管线热胀冷缩发生的位移,其设置和规划应满足相关规范规定。
5、一切抗震支吊架应和结构主体牢靠衔接,当管道穿越建筑沉降缝时应考虑不均匀沉降的影响。
6、新建工程刚性原料电缆梯架、电缆托盘和电缆槽盒的抗震支吊架侧向最大距离为12m,纵向最大距离为24m。
639ccd全民乐7、新建工程非金属原料电缆梯架、电缆托盘和电缆槽盒的抗震支吊架侧向最大距离为6m,纵向最大距离为12m。
8、新建工程刚性管道侧向抗震支撑最大规划距离12米,纵向抗震支撑最大规划距离24米;柔性管道上述参数折半;改建、扩建工程管道上述参数折半。
9、新建工程刚性矩形风管侧向抗震支撑最大规划距离9米,纵向抗震支撑最大规划距离18米;柔性风管上述参数折半;改建、扩建工程管道上述参数折半。
